CLOSE

sales@syimotor.com

+86-512-65963935

+86-512-65963935

E-Bike System E-bike Motor
Blog Introductory Knowledge: What to Consider Before Purchasing an Electric Bicycle Debunking Myths: Four Misconceptions About Hub in Motors Revealing the Types of Ebike Motors, Which One Better Suits Your Riding Needs

 Main Parameter of Shengyi DGW29-Rear Drive Hub Motor-MTB  


specificationparameter
Driving positionRear
Wheel size24in-29in
Spoke36holes 12G/13G
Rated power750W
Rated voltage36V~48V
Max.torque55N.m(48V,26in,38KM,350W,15A)
Efficiency≥80%
Cable sideLeft
Number of magnet46
Reduction gear ratioDirect drive
Installation dimension135mm
Inside speed sensor1~6
Hall sensorWith/Without
Free wheelCassette 8-10s/Screw 6-7s
BrakeDisc-brake
Classification of waterproofIPX5
Weight5.2Kg


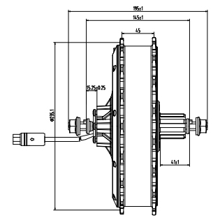
Drawing of DGW29-Rear Drive Motor-MTB


Drawing-of-DGW29-Rear-Drive-Motor-MTB





Contact Us